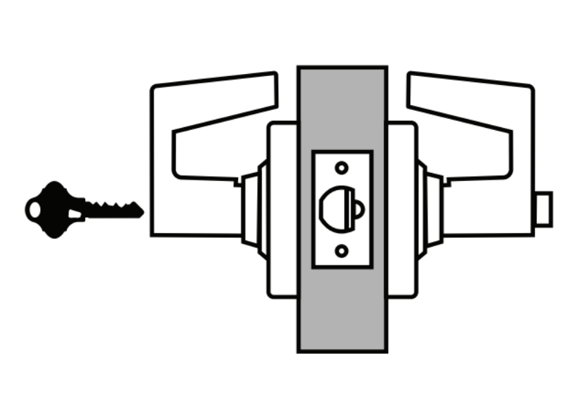
ND91 IND IS Vandlgard entrance/office lock

Lever with key cylinder outside; push button in lever inside; deadlatch
In unlocked state latch is retracted by either lever
Outside is made inoperative by pushing button on inside lever; key outside does not lock, Vandlgard® allows outside lever to rotate freely when locked
Key outside or rotating inside lever retracts latch and releases button unlocking outside lever
Inside lever always free for immediate egress

Products by Part Types

Cylindrical Lock Parts and Acc.